60周年
成果類別 科專研發
產出年度 107
計畫名稱 熱導引交換模組與廢熱轉能技術開發
技術類別 臨場監督測試
搭配推廣專利
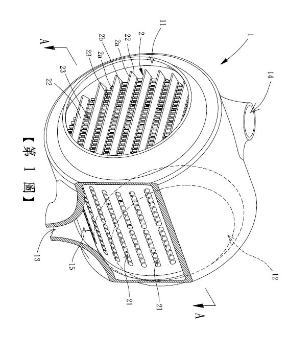
技術現況敘述 低壓損與高熱交換量之波浪翅管型氣-液廢熱交換模組設計,可安裝尾氣排放側進行中低溫廢熱交換與轉能應用。
技術規格 操作溫度≧300℃、熱媒出口溫度≧50℃
可移轉技術名稱(中) 氣-液廢熱交換裝置
可移轉技術名稱(英) gas-liquid heat exchanger
可應用範圍 1.新及再生能源中低溫廢氣或地熱蒸汽等熱能轉換應用所需要的低壓損、耐高溫、耐高壓等熱交換模組需求 (2)低溫ORC蒸發器與冷凝器運用
市場(產品/服務)潛力預估 (1)沼氣渦輪發電系統尾氣廢熱回收應用 (2)低溫ORC蒸發器與冷凝器運用 (3)質子交換膜式氫燃料電池堆廢熱管理
所需之主要軟硬體設備 氣液熱交換裝置
總聯絡窗口 金屬工業研究發展中心 羅政副組長 
Tel: 07-3513121轉2366, Fax: 07-3534062
E-mail :judylo@mail.mirdc.org.tw
更新日期:108-03-18 / 維護單位:系統管理者
<