60周年
成果類別 科專研發
產出年度 106
計畫名稱 高活性銲覆粉線材料製造與分析系統
技術類別
搭配推廣專利
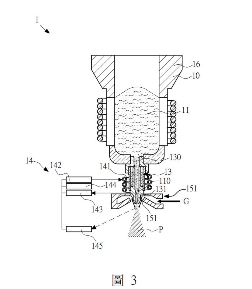
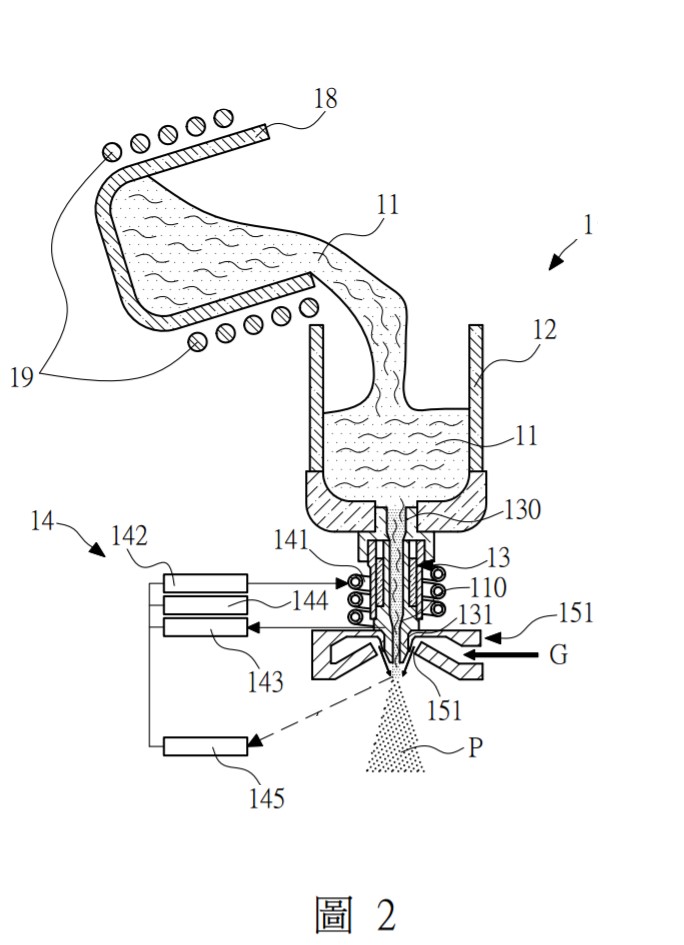
技術現況敘述 本技術之熔湯超溫控制裝置,包括一坩堝單元、一組合式熔湯輸送管、一感應套筒、一感應線圈、一噴嘴單元及一溫控單元,進行熔湯型態及熔湯超熔溫度的調控。坩堝單元所供給之熔湯通過經感應線圈環繞之輸送管,同時對感應套筒及輸送管內部熔湯進一步感應加熱,產生一超溫熔湯。該溫控單元量測並計算該超溫熔湯通過噴嘴後溫度,並調整該感應線圈之功率,以達成預定超熔溫度之控制,並搭配合適的噴嘴設計來達成生產球形合金粉末的目標。
技術規格 1.電源:10kW 60Hz 2.澆鑄管尺寸:D=25mm,L=116mm 3.管內徑:4mm 4.內管溫度>1250℃
可移轉技術名稱(中) 具溫控設計的合金粉末製造設備及方法
可移轉技術名稱(英) Alloy powder manufacturing device and method with temperature control design
可應用範圍 真空氣霧化法製備金屬粉末,高熔點高黏度金屬,如鐵、鈷、鎳基合金
市場(產品/服務)潛力預估 根據Smartech於2014年的調查報告(Metal Powders Industry Report)指出,2014年全球積層製造用粉末市場規模約為30億元,預估2018將達140億元,2023達到300億元的市場規模。全球硬銲填料預計於2016年達136億元市場規模,新興市場成長較快,CAGR達9.22%。
所需之主要軟硬體設備 真空惰氣霧化設備(VIGA)
總聯絡窗口 金屬工業研究發展中心 羅政副組長 
Tel: 07-3513121轉2366, Fax: 07-3534062
E-mail :judylo@mail.mirdc.org.tw
更新日期:108-03-18 / 維護單位:系統管理者
<