60周年
成果類別 科專研發
產出年度 103
計畫名稱 產品試製與試驗
技術類別
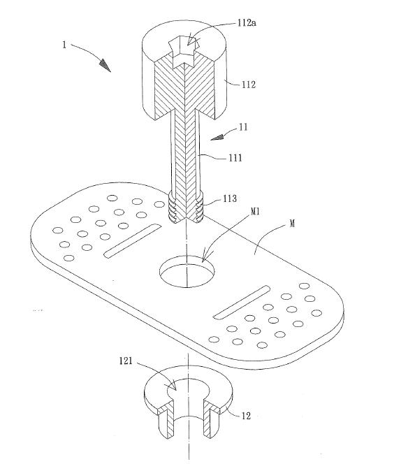
搭配推廣專利 骨頭阻隔膜固定裝置
技術現況敘述 近年來,人工牙根應用於治療缺牙病人的比率已逐漸增加,臨床研究顯示不論全口假牙、局部缺牙或單顆缺牙病人,若能在執行植牙手術的時候同時提高骨整合的比例,將會大幅提高植牙手術的成功率。通常在植牙後須花費較長的時間在等待組織癒合及修復,才能進行下一階段的治療並恢復正常的日常生活品質。 人工植牙的概念,引導骨再生術(Guided Bone Regeneration)為口腔種植不可或缺的一部分。臨床上常遇到植牙患者缺牙區牙脊寬度或高度不足,導致植體初始穩定度不足無法種植在理想的齒列位置,造成日後贗復物製作困難。一般來說,缺牙後,骨頭的吸收和軟組織的改變是很快速且持續的。缺牙後經過一段時間齒槽骨平均高度會下降2-3mm、平均厚度會少1/2-1/3,研究顯示,骨頭的吸收,在拔完牙後的前半年,寬度會流失23%,前三年會有30%~40%齒槽骨的吸收。對於立即性受力植牙來說,骨脊高度不足難以提供良好的初始穩定度而增加植牙失敗的機率,故引導骨再生術(Guided Bone Regeneration)在牙科口腔種植上的應用扮演很重要的角色,目前在齒科的應用上主要透過骨引導再生術來增加牙脊寬度、高度。透過該手術,齒槽骨得以有足夠的骨量將植體植入恰當的齒列咬合位置。
技術規格 癒合體One-piece基台體本體螺絲 1.One-piece abutment/screw 1.6 2.One-piece abutment/screw 1.8 3.One-piece abutment/screw 2.0 Healing One-piece基台體本體螺絲 1.One-piece Healing abutment/screw 1.6 2.One-piece Healing abutment/screw 1.8 3.One-piece Healing abutment/screw 2.0 One-piece基台體本體基台 1.One-piece abutment/base 4 2.One-piece abutment/base 4.5 3.One-piece abutment/base 5 通用板手 (HEX 1.2 通用) 1.Screw Driver/one-piece
可移轉技術名稱(中) 引導骨再生之One-Piece基台體SPACER系統
可移轉技術名稱(英) One-piece abutment SPACER system for GBR to increase space bone growing
可應用範圍 由引導骨再生術配基台體應用的流程可以發現,鈦膜阻隔了非骨生成細胞(nonosteogenic cell)進入骨缺損區,而促進骨生長。以植牙方面來說,植牙周遭骨量與骨脊高度對於植牙扮演著極為重要的角色。故於引導骨再生中,適當阻隔膜固定用螺絲平台與其配合的Driver的開發來提高植牙周遭骨量與骨脊高度,以提高人工牙根初始的穩定度
市場(產品/服務)潛力預估 目前國內外植牙市場,以二階式植體系統為大宗,主要原因在於實際臨床病例觀察數據悠久,且受病人骨質限制因素較低,固成了近30年來最受牙醫師信賴的植牙手術方式。隨著醫學科技進步與患者醫療意識崛起,植牙成功與否的判斷準則,已非單純地實現咬合與咀嚼功能,而是必須解決各種臨床需求,例如減少鎖入扭力、應用於不佳骨質、降低骨萎縮…等。現今牙醫師急待解決的臨床問題如下: 1. 在植體植入後,患者需等待3~6個月骨整合時間,患者於此期間內會失去該部位的咬合與美觀功能,嚴重地影響患者的日常生活作息。 2. 接受二階式植體系統植牙患者,經長期行使咬合功能後,部分使用者會因連接鬆脫致使口內細菌滲入植體內孔,導致牙齦反覆發炎,輕微者會疼痛與出血,嚴重者產生口內惡臭,破壞患者正常社交;此外,不少膺復件鬆脫並掉落口內等案例,令醫師與患者苦惱不已。 3. 多數患者膺復後皆會立即出現劇烈骨吸收,致使牙齦高度一同下降,使部分植體 因牙周病或創傷所造成之缺牙病症,此類患者皆有骨脊寬度過窄、骨質不佳與骨量不足等問題,而依據植牙手術規範,植體周圍需保有骨厚度1mm,而目前市售植體尺寸皆過大,令患者必須額外付費接受骨劈開、擴骨或補骨手術,並等上6~12個月冗長骨癒合期,方能進行植牙。
所需之主要軟硬體設備 牙科設備
總聯絡窗口 金屬工業研究發展中心 羅政副組長 
Tel: 07-3513121轉2366, Fax: 07-3534062
E-mail :judylo@mail.mirdc.org.tw
更新日期:108-03-18 / 維護單位:系統管理者
<