±M§Q¤¶²Ð--¥i·L½Õ¦¡ºÞ¥ó²GÀ£¦¨§Î¨RÀY¾÷ºc |
| ±M§QÃÒ¸¹
|
I255210 |
| µo ©ú ¤H |
¶À«Ø¦¨¡B²ø§Ó¦t¡B¾G¬±°ê¡B§õ©ú´I |
| ºK¡@¡@n |
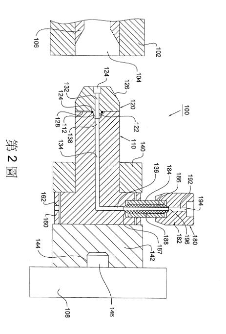
¤@ºØ¥i·L½Õ¦¡ºÞ¥ó²GÀ£¦¨§Î¨RÀY¾÷ºc¥]§t¤@¨RÀY¥»Åé¡B¤@¨RÀY«eºÝ¤Î¤@Âà±µ³æ¤¸¡C¸Ó¨RÀY¥»Åé¨ã¦³¤@²Ä¤G¤ô¹D¡A¨ä¤¤¸Ó²Ä¤G¤ô¹D¨ã¦³¤@¶i¤f¤Î¤@¥X¤f¡A¥B¸Ó²Ä¤G¤ô¹D¤§¶i¤f»P¥X¤f¤è¦V«Y¦¨¤@¯S©w¨¤«×¡C¸Ó¨RÀY«eºÝ¨ã¦³¤@²Ä¤@¤ô¹D³s³q¸Ó²Ä¤G¤ô¹D¤§¥X¤f¡A¨ÃÂǥѤ@¤ô±KºÞÁ³¯¾±K«Ê¤è¦¡©T©w©ó¸Ó¨RÀY¥»Åé¤W¡C¸ÓÂà±µ³æ¤¸«Y©T©w©ó¸Ó¨RÀY¥»Åé¤W¡A¨Ã¥]§t¤@±µÀY¤Î¤@±K«Ê¥ÎºÞ¡A¨ä¤¤¸Ó±µÀY¨ã¦³¤@²Ä¤T¤ô¹D¡A¸Ó¨RÀY¥»Å餧²Ä¤G¤ô¹D¨Ì§Ç³s³q©ó¸Ó±K«Ê¥ÎºÞ¡B¸Ó²Ä¤T¤ô¹D¤Î¤@¥~³¡°ªÀ£ºÞ¡A¥B¸Ó±K«Ê¥ÎºÞ¨ã¦³¤@±K«Ê¶É±×±±µÄ²©ó¸Ó²Ä¤G¤ô¹D¤§¶i¤f¡C¸Ó¥i·L½Õ¦¡ºÞ¥ó²GÀ£¦¨§Î¨RÀY¾÷ºc¥t¥]§t¤@¨RÀY¦ì¸m½Õ¾ã³æ¤¸¤Î¤@¨RÀY¨¤«×½Õ¾ã³æ¤¸¡C |
| ¹Ï¥Ü»¡©ú |


|
| ¥Ó½Ð±M§Q½d³ò |
- ¤@ºØ¨RÀY¾÷ºc,¥]§t:
¤@¨RÀY¥»Åé,¨ã¦³¤@²Ä¤G¤ô¹D,¨ä¤¤¸Ó²Ä¤G¤ô¹D¨ã¦³¤@¶i¤f¤Î¤@¥X¤f,¥B¸Ó²Ä¤G¤ô¹D¤§¶i¤f»P¥X¤f¤è¦V«Y¦¨¤@¯S©w¨¤«×;
¤@¨RÀY«eºÝ,¨ã¦³¤@²Ä¤@¤ô¹D³s³q¸Ó²Ä¤G¤ô¹D¤§¥X¤f,¨ÃÂǥѤ@¤ô±KºÞÁ³¯¾±K«Ê¤è¦¡©T©w©ó¸Ó¨RÀY¥»Åé¤W;¥H¤Î
¤@Âà±µ³æ¤¸,©T©w©ó¸Ó¨RÀY¥»Åé¤W,¨Ã¥]§t¤@±µÀY¤Î¤@±K«Ê¥ÎºÞ,¨ä¤¤¸Ó±µÀY¨ã¦³¤@²Ä¤T¤ô¹D,¸Ó¨RÀY¥»Å餧²Ä¤G¤ô¹D¨Ì§Ç³s³q©ó¸Ó±K«Ê¥ÎºÞ¡B¸Ó²Ä¤T¤ô¹D¤Î¤@¥~³¡°ªÀ£ºÞ,¥B¸Ó±K«Ê¥ÎºÞ¨ã¦³¤@±K«Ê¶É±×±±µÄ²©ó¸Ó²Ä¤G¤ô¹D¤§¶i¤f¡C
- ¨Ì¥Ó½Ð±M§Q½d³ò²Ä1¶µ¤§¨RÀY¾÷ºc,¨ä¤¤¸Ó¤ô±KºÞÁ³¯¾±K«Ê¤è¦¡«Y¬°¤ô±K½¦±aÁ³¯¾±K«Ê¤è¦¡¡C
- ¨Ì¥Ó½Ð±M§Q½d³ò²Ä1¶µ¤§¨RÀY¾÷ºc,¨ä¤¤¸Ó¨RÀY«eºÝ¤Î¨RÀY¥»Åé¤À§O¥]§t¤@¥Y¥X³¡¤Î¤@¶ê¤Õ,¸Ó¥Y¥X³¡¤§¤½Á³¯¾«Y¹ïÀ³©ó¸Ó¶ê¤Õ¤§¥ÀÁ³¯¾,¥B¸Ó¥Y¥X³¡«YÂǥѤô±KºÞÁ³¯¾±K«Ê¤è¦¡©T©w¸Ó¨RÀY¥»Å餧¶ê¤Õ¤º¡C
- ¨Ì¥Ó½Ð±M§Q½d³ò²Ä1¶µ¤§¨RÀY¾÷ºc,¥t¥]§t¤@±K«Ê¶ñ®Æ,¨ä°t¸m©ó¸Ó¨RÀY¥»Åé»P¨RÀY«eºÝ¤§¶¡¡C
- ¨Ì¥Ó½Ð±M§Q½d³ò²Ä1¶µ¤§¨RÀY¾÷ºc,¨ä¤¤¸Ó¨RÀY«eºÝ¥]§t¤@®µ«ù¥Î¤Õ¡C
- ¨Ì¥Ó½Ð±M§Q½d³ò²Ä1¶µ¤§¨RÀY¾÷ºc,¨ä¤¤¸Ó¨RÀY«eºÝ«Y³]¦³¤@±K«Ê¥Î±×±¡C
- ¨Ì¥Ó½Ð±M§Q½d³ò²Ä1¶µ¤§¨RÀY¾÷ºc,¥t¥]§t¤@²Ä¤@¬ªº|À˵ø¤Õ°t¸m©ó¸Ó¨RÀY¥»Åé¤Î¸Ó¨RÀY«eºÝ¤§¶¡¡C
- ¨Ì¥Ó½Ð±M§Q½d³ò²Ä1¶µ¤§¨RÀY¾÷ºc,¨ä¤¤¸Ó²Ä¤G¤ô¹D¤§¶i¤f»P¥X¤f¤è¦V©Ò§Î¦¨¤§¯S©w¨¤«×«Y¬°90«×¡C
- ¨Ì¥Ó½Ð±M§Q½d³ò²Ä1¶µ¤§¨RÀY¾÷ºc,¥t¥]§t:
¤@«e»\,Àô¶¸Ó¨RÀY¥»Åé,¨Ã³]¦³½Æ¼ÆÓ²Ä¤@Âꦩ¤Õ,¨ä¤¤¸Ó¨RÀY¥»Åé³]¦³½Æ¼ÆÓ²Ä¤GÂꦩ¤Õ;
¤@©³®y,³]¦³½Æ¼ÆÓ²Ä¤TÂꦩ¤Õ;¥H¤Î
½Æ¼ÆÓ²Ä¤@Âꦩ¥ó,¨Ì§Ç¬ï¹L±N¸Ó²Ä¤@Âꦩ¤Õ¡B¸Ó²Ä¤GÂꦩ¤Õ¤Î¸Ó²Ä¤TÂꦩ¤Õ¦Ó±N¸Ó¨RÀY¾÷ºc©TÂê©ó¤@°¼¬û¤W¡C
- ¨Ì¥Ó½Ð±M§Q½d³ò²Ä9¶µ¤§¨RÀY¾÷ºc,¨ä¤¤¸Ó©³®y³]¦³¤@©w¦ì¶ê¤Õ¡C
- ¨Ì¥Ó½Ð±M§Q½d³ò²Ä9¶µ¤§¨RÀY¾÷ºc,¥t¥]§t¤@«OÅ@Àô,¨äÀô¶¸Ó¨RÀY¥»Åé,¨Ã©TÂê©ó¸Ó«e»\¤Î¸Ó©³®y¤§¶¡¡C
- ¨Ì¥Ó½Ð±M§Q½d³ò²Ä11¶µ¤§¨RÀY¾÷ºc,¨ä¤¤¸Ó«OÅ@Àô¥]§t¤@¦w¥þÁ³¤Õ¤Î¤@Á³®ê,¥Î¥H¨¾¤î¸Ó°ªÀ£ºÞ²æ¸¨«á¶Ã¥Ï¡C
- ¨Ì¥Ó½Ð±M§Q½d³ò²Ä1¶µ¤§¨RÀY¾÷ºc,¨ä¤¤¸ÓÂà±µ³æ¤¸¥t¥]§t¤@²Ä¤GÂꦩ¥ó,¥Î¥H±N¸Ó±µÀY¤Î¸Ó±K«Ê¥ÎºÞ©T©w©ó¸Ó¨RÀY¥»Åé¡C
- ¨Ì¥Ó½Ð±M§Q½d³ò²Ä1¶µ¤§¨RÀY¾÷ºc,¥t¥]§t¤@²Ä¤G¬ªº|À˵ø¤Õ,¨ä°t¸m©ó¸ÓÂà±µ³æ¤¸»P¸Ó¨RÀY¥»Å餧¶¡¡C
- ¨Ì¥Ó½Ð±M§Q½d³ò²Ä1¶µ¤§¨RÀY¾÷ºc,¨ä¤¤¸Ó²Ä¤T¤ô¹D¨ã¦³¤@¶i¤f¤Î¤@¥X¤f,¥B¸Ó²Ä¤T¤ô¹D¤§¶i¤f»P¥X¤f¤è¦V«Y¦¨¤@¯S©w¨¤«×¡C
- ¨Ì¥Ó½Ð±M§Q½d³ò²Ä15¶µ¤§¨RÀY¾÷ºc,¨ä¤¤¸Ó²Ä¤T¤ô¹D¤§¶i¤f»P¥X¤f¤è¦V©Ò§Î¦¨¤§¯S©w¨¤«×«Y¬°90«×¡C
- ¨Ì¥Ó½Ð±M§Q½d³ò²Ä1¶µ¤§¨RÀY¾÷ºc,¥t¥]§t¤@¨RÀY¦ì¸m½Õ¾ã³æ¤¸,¥Î¥H½Õ¾ã¸Ó¨RÀY¥»Å餧¦ì¸m¡C
- ¨Ì¥Ó½Ð±M§Q½d³ò²Ä17¶µ¤§¨RÀY¾÷ºc,¨ä¤¤¸Ó¨RÀY¦ì¸m½Õ¾ã³æ¤¸¥]§t¸Ó«e»\¤§²Ä¤@Âꦩ¤Õ¤Î¸Ó¨RÀY¥»Å餧²Ä¤GÂꦩ¤Õ,¥B¸Ó²Ä¤@Âꦩ¤Õ¤Î¸Ó²Ä¤GÂꦩ¤Õ¤§¤Ø¤o«Y¸û¤j©ó¸Ó²Ä¤@Âꦩ¥ó¤§¤Ø¤o¡C
- ¨Ì¥Ó½Ð±M§Q½d³ò²Ä17¶µ¤§¨RÀY¾÷ºc,¨ä¤¤¨RÀY¥»Åé¥]§t¥|ӲĤ@±×±,¸Ó¨RÀY¦ì¸m½Õ¾ã³æ¤¸¥]§t¥|¶ô·¤§Î¶ô¤Î½Æ¼ÆÓ²Ä¤TÂꦩ¥ó,¸Ó¥|¶ô·¤§Î¶ô¤À§O¨ã¦³²Ä¤G±×±±µÄ²©ó¸Ó¥|ӲĤ@±×±,¨ÃÂǥѸӲĤTÂꦩ¥ó©T©w¸Ó¥|Ó·¤§Î¶ô¤Î¸Ó¨RÀY¥»Åé¡C
- ¨Ì¥Ó½Ð±M§Q½d³ò²Ä1©Î17¶µ¤§¨RÀY¾÷ºc,¥t¥]§t¤@¨RÀY¨¤«×½Õ¾ã³æ¤¸,¥Î¥H½Õ¾ã¸Ó¨RÀY¥»Å餧¨¤«×¡C
- ¨Ì¥Ó½Ð±M§Q½d³ò²Ä20¶µ¤§¨RÀY¾÷ºc,¨ä¤¤¸Ó¨RÀY¥»Åé¥]§t¤@²Ä¤@¶ê©·±,¸Ó©³®y¥]§t¤@²Ä¤G¶ê©·±ºò±K±µÄ²¸Ó²Ä¤@¶ê©·±,¥B¸Ó¨RÀY¨¤«×½Õ¾ã³æ¤¸¥]§t½Æ¼ÆÓ²Ä¥|Âꦩ¥ó,¥Î¥H±N¸Ó¨RÀY¥»Åé©TÂê¦b¸Ó©³®y¤W¡C
- ¨Ì¥Ó½Ð±M§Q½d³ò²Ä1¶µ¤§¨RÀY¾÷ºc,¨ä¤¤¸Ó¨RÀY¾÷ºc,¥Î©ó¤@ºÞ¥ó²GÀ£¦¨§Î³]³Æ¡C
- ¨Ì¥Ó½Ð±M§Q½d³ò²Ä1¶µ¤§¨RÀY¾÷ºc,¨ä¤¤¸Ó¨RÀY¾÷ºc,¥Î©ó¤@°ªÀ£´ú¸Õ³]³Æ¡C
|
| ¯S¡@¡@¦â |
- ¥»µo©ú¨ã¦³²Õ¸Ë«K§Q¡B¦w¥þµL¸·¡Bµ²ºc²³æ°í©T¡B¼Ò²Õ¤Æµ¥ÀuÂI¡A¸Ô²Ó»¡©ú¦p¤U¡F
- ¨RÀYª½±µ³s±µ°ªÀ£¤ôºÞ¡A¤ô¹D¥u°µ©ó¨RÀY¤W¡AµL¶·¤ôÀY°µ¬°¨RÀY©TÂê©ó°¼¬û¤§Âà±µ¸Ë¸m¡A¤£·|¦³¬ªº|°ÝÃD¡A¥B´£°ª¤ô¹D¤§¾ãÅéè©Ê¡F
- ¥»µo©ú³]p¨âºØ¦ì¸m¤§½Õ¾ã¾÷ºc©M¤@ºØ¨¤«×¤§½Õ¾ã¾÷ºc¡A¨Ï¨RÀY©ó¹ï¥¿²Õ¸Ë®É¥i¾A·í¦a·L½Õ¡A¥i°§C¼Ò¨ã¥[¤u©M²Õ¸Ë¤Wºë«×¤§n¨D¡A©ó¶q²£®É¡A¤]¥i®Ú¾Ú¹ê»Ú¼Ò¨ãª¬ªp¡AÀH®Éªº½Õ¾ã¡AÁ×§K×¼Ò¤§¶O¥Î¡C¥H¦¹³]p¤§¦ì¸m·L½Õ¶q¬ù2¡ã3mm¡A¨¤«×¤§·L½Õ¶q¬°¤p©ó2«×¡A¤w¥i¦³®ÄÀ³¥I¶q²£¤W¤§¦UºØª¬ªp¡C¥B¨äè©Ê¤]»·³Ó©ó¨ä¥Lµ²ºc³]p¡A¥iÀ³¥I´X¤Q¾·¤§¨R§É¡C
|
|
|
±M§Q¤¶²Ð--¥Î¥H¦¨§Î¤@·L²Ó¾É¹q¤¸¥óªº©ñ¹q¥[¤u¸Ë¸m |
| ±M§QÃÒ¸¹
|
M274184 |
| µo ©ú ¤H |
²ø®ï¡BªL^³Ç |
| ºK¡@¡@n |
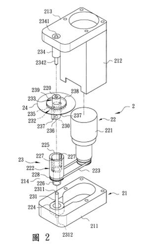
¤@ºØ¥Î¥H¦¨«¬¤@·L²Ó¾É¹q¤¸¥óªº©ñ¹q¥[¤u¸Ë¸m¡A¥]§t¤@ÅX°Ê³æ¤¸¡B¤@¯à¨ü¸ÓÅX°Ê³æ¤¸³s°ÊªºÂù³»¤ß§¨´w³æ¤¸¡A¤Î¤@¨ü¸ÓÂù³»¤ß§¨´w³æ¤¸§¨¨î©w¦ìªº¶ê½L¹q·¥¡C¸ÓÂù³»¤ß§¨´w³æ¤¸¨ã¦³¤@²Ä¤@³»¤ß¬W¡B¤@»P¸Ó²Ä¤@³»¤ß¬W³»Ä²ªº²Ä¤@§¨¶ô¡B¤@»P¸Ó²Ä¤@§¨¶ô¶¡¹j¹ïÀ³ªº²Ä¤G§¨¶ô¡A¤Î¤@³»Ä²©ó¸Ó²Ä¤G§¨¶ôªº²Ä¤G³»¤ß¬W¡C§Q¥Î¸Ó²Ä¤@¡B¤G§¨¶ô¤À§O»P²Ä¤@¡B¤G³»¤ß¬W¶¡¬O§e¦yÀ@ª¬¥W¥Y³»´¡ª¬ºA¡A¦A°t¦X¸ÓÅX°Ê³æ¤¸ÅX¨Ï¸Ó²Ä¤@¡B¤G§¨¶ô»P¶ê½L¹q·¥¦P¨B°ª³tÂà°Ê¤§ÅX°Ê¼Ò¦¡¡AÅý¸Ó¶ê½L¹q·¥¯àºû«ù°ª±ÛÂàºë«×¡A´£ª@·L²Ó¾É¹q¤¸¥óºë«×»P¥[¤u¦¨§Î®Ä²v¡A¥B¼W¶i¶ê½L¹q·¥¤§¦w¸Ë®Ä²v¡C
|
| ¹Ï¥Ü»¡©ú |


|
| ¥Ó½Ð±M§Q½d³ò |
- ¤@ºØ¥Î¥H¦¨«¬¤@·L²Ó¾É¹q¤¸¥óªº©ñ¹q¥[¤u¸Ë¸m,¥]§t:
¤@°ò®y³æ¤¸,§Î¦¨¦³¤@¥[¤uªÅ¶¡;
¤@³]¸m©ó¸Ó°ò®y³æ¤¸¤WªºÅX°Ê³æ¤¸,¨ã¦³¤@¥D°Ê¥ó¡B¤@¨ü¸Ó¥D°Ê¥ó³s°Ê¦Ó¥i§Ö³tÂà°Ê¦a³]¸m©ó¸Ó°ò®y³æ¤¸¤Wªº±q°Ê¥ó,¥H¤Î¤@¯à±N¸Ó¥D°Ê¥ó¤§°Ê¤O¶Ç»¼¤©¸Ó±q°Ê¥óªº¶Ç°Ê¥ó;
¤@Âù³»¤ß§¨´w³æ¤¸,¬O³]¸m©ó¸Ó¥[¤uªÅ¶¡¤¤¥B¯à¨ü¸ÓÅX°Ê³æ¤¸³s°Ê,¨Ã¨ã¦³¤@©T©w©ó¸Ó±q°Ê¥ó¤¤¥B¨ã¦³¤@²Ä¤@¥YºÝªº²Ä¤@³»¤ß¬W¡B¤@¥i¨ü¸Ó±q°Ê¥ó³s°Ê¦ÓÂà°Ê¥B¨ü¸Ó²Ä¤@³»¤ß¬W³»Ä²ªº²Ä¤@§¨¶ô¡B¤@»P¸Ó²Ä¤@§¨¶ô¶¡¹j¹ïÀ³¥B¥i±q°Ê¦a»P¨ä¦P¨BÂà°Êªº²Ä¤G§¨¶ô,¥H¤Î¤@»P¸Ó²Ä¤G§¨¶ô³»Ä²ªº²Ä¤G³»¤ß¬W,¸Ó²Ä¤@§¨¶ô§Î¦¨¦³¤@¨Ñ¸Ó²Ä¤@³»¤ß¬W¤§²Ä¤@¥YºÝ³»¦ùªº²Ä¤@¥W¼Ñ,¸Ó²Ä¤G§¨¶ô»·Â÷¸Ó²Ä¤@§¨¶ô¤§¤@ºÝ¤W§Î¦¨¦³¤@²Ä¤G¥W¼Ñ,¸Ó²Ä¤G³»¤ß¬W¨ã¦³¤@¯à³»¦ù¤J¸Ó²Ä¤G¥W¼Ñ¤¤¤§²Ä¤G¥YºÝ;¥H¤Î
¤@¶ê½L¹q·¥,¬O¦ì©ó¸ÓÂù³»¤ß§¨´w³æ¤¸¤§²Ä¤@¡B¤G§¨¶ô¶¡,¦Ó¥i»P¸Ó²Ä¤@¡B¤G§¨¶ô¦P¨B§Ö³tÂà°Ê¡C
- ¨Ì¾Ú¥Ó½Ð±M§Q½d³ò²Ä1¶µ©Òz¤§¥Î¥H¦¨«¬¤@·L²Ó¹q·¥ªº©ñ¹q¥[¤u¸Ë¸m,¨ä¤¤,¸Ó°ò®y³æ¤¸¨ã¦³¤@©³®y¡B¤@ª½¥ß©T©w©ó¸Ó©³®y³»±°¾°¼³B¥B¨Ñ¸ÓÅX°Ê³æ¤¸¤§¥D°Ê¥ó®e¸mªº¥ß®y,¥H¤Î¤@©T©w©ó¸Óª½¥ß®y³»±ªº»\®y,¸Ó©³®y¡B¥ß®y»P¸Ó»\®y¬Û°t¦X§eC¦r«¬,¨Ã¬É©w¥X¨Ñ¸ÓÂù³»¤ß§¨´w³æ¤¸¡B¶ê½L¹q·¥,¥H¤Î¸ÓÅX°Ê³æ¤¸¤§±q°Ê¥ó»P¶Ç°Ê¥ó®e¸mªº¸Ó¥[¤uªÅ¶¡¡C
- ¨Ì¾Ú¥Ó½Ð±M§Q½d³ò²Ä1¶µ©Òz¤§¥Î¥H¦¨«¬¤@·L²Ó¹q·¥ªº©ñ¹q¥[¤u¸Ë¸m,¨ä¤¤,¸ÓÅX°Ê³æ¤¸§ó¨ã¦³¤@ÁôÂó]¸m©ó¸Ó°ò®y³æ¤¸¤§©³®y¤¤ªº¶b©Ó,¸Ó±q°Ê¥ó¨ã¦³¤@ª½¥ß¦ì©ó¸Ó¥[¤uªÅ¶¡¤¤¤§¤¤ªÅªºÂ൩¥DÅé¡B¤@¥W³´³]¸m©ó¸ÓÂ൩¥DÅé¥~©P±¤W¦Ó¥Î¥H¨Ñ¸Ó¶Ç°Ê¥ó¶¸mªºÀô·¾¼Ñ,¥H¤Î¤@¥~®|¤p©ó¸ÓÂ൩¥DÅé¥~®|¥B¬ï¦ù¤J¸Ó©³®y¤¤ªºÁY®|©³ºÝ,¸Ó¶b©Ó¬O®M³]©ó¸Ó±q°Ê¥ó¤§ÁY®|©³ºÝ¤W¡C
- ¨Ì¾Ú¥Ó½Ð±M§Q½d³ò²Ä3¶µ©Òz¤§¥Î¥H¦¨«¬¤@·L²Ó¹q·¥ªº©ñ¹q¥[¤u¸Ë¸m,¨ä¤¤,¸Ó±q°Ê¥ó§ó¨ã¦³¤G¥W³´§Î¦¨©ó¸ÓÂ൩¥DÅ餺¾À±¥B¤À§O¦ì¦b¤@°²·Q®|½u¨âºÝªº´O¼Ñ,¸ÓÂù³»¤ß§¨´w³æ¤¸¤§²Ä¤@§¨¶ô¬°T¦r«¬ª¬¦Ó¨ã¦³¤@»\À£©ó¸ÓÂ൩¥DÅé³»±¤Wªº²Ä¤@§¨¨î½L³¡¡B¤@¦Û¸Ó²Ä¤@§¨¨î½L³¡©³±©µ¦ù¤J¸ÓÂ൩¥DÅ餺¥B¨ä©³ºÝ§Î¦¨¦³¸Ó²Ä¤@¥W¼Ñªº²Ä¤@¶ê¬W³¡,¥H¤Î¤Gªu¨äªø«×¤è¦V¦a³]¸m©ó¸Ó²Ä¤@¶ê¬W³¡©P±¤W¥B¯à¤À§O¹ïÀ³´O¸m¤J¸Ó±q°Ê¥ó¤§´O¼Ñ¤¤ªº´O±ø³¡,ÂǥѸӲĤ@§¨¶ô¤§´O±ø³¡»P¸Ó±q°Ê¥ó¤§´O¼Ñ¬Û´O¥d°t¦X,Åý¸Ó²Ä¤@§¨¶ô¥i¨ü¸Ó±q°Ê¥ó³s°Ê¦Ó¦P¨BÂà°Ê¡C
- ¨Ì¾Ú¥Ó½Ð±M§Q½d³ò²Ä4¶µ©Òz¤§¥Î¥H¦¨«¬¤@·L²Ó¹q·¥ªº©ñ¹q¥[¤u¸Ë¸m,¨ä¤¤,¸ÓÂù³»¤ß§¨´w³æ¤¸¤§²Ä¤G§¨¶ô¬°ËT¦r«¬ª¬¦Ó¨ã¦³¤@²Ä¤G§¨¨î½L³¡,¥H¤Î¤@¦Û¸Ó²Ä¤G§¨¨î½L³¡³»±ª½¥ß©µ¦ù¥B¨ä³»ºÝ¥W³´§Î¦¨¦³¸Ó²Ä¤G¥W¼Ñªº²Ä¤G¶ê¬W³¡¡C
- ¨Ì¾Ú¥Ó½Ð±M§Q½d³ò²Ä5¶µ©Òz¤§¥Î¥H¦¨«¬¤@·L²Ó¹q·¥ªº©ñ¹q¥[¤u¸Ë¸m,¨ä¤¤,¸Ó¶ê½L¹q·¥¬O»P¸ÓÂù³»¤ß§¨´w³æ¤¸¤§²Ä¤@¡B¤G§¨¶ôªº²Ä¤@¡B¤G§¨¨î½L³¡¬°¦PÅé³sµ²µ²ºc¡C
- ¨Ì¾Ú¥Ó½Ð±M§Q½d³ò²Ä1¶µ©Òz¤§¥Î¥H¦¨«¬¤@·L²Ó¹q·¥ªº©ñ¹q¥[¤u¸Ë¸m,¨ä¤¤,¸ÓÂù³»¤ß§¨´w³æ¤¸¤§²Ä¤@¡B¤G³»¤ß¬Wªº²Ä¤@¡B¤G¥YºÝ¬°¦yÀ@ª¬,¸Ó²Ä¤@¡B¤G§¨¶ô¤§²Ä¤@¡B¤G¥W¼Ñ¬O¬°¦yÀ@ª¬¡C
|
| ¯S¡@¡@¦â |
- ¥»±M§Q¸Ë¸m¥Ñ¦øªA°¨¹F³æ¤¸¡BÂù³»¤ß³æ¤¸¡B¶ê½L¹q·¥ÅX°Ê³æ¤¸¡B¶ê½L¹q·¥¡B¾÷ºc¥»Åé©Ò²Õ¦¨¡C
- ÂÇ¥ÑÂù³»¤ß³æ¤¸¥i½T«O¦b§ó·s¡]«¸m¡^¶ê½L¹q·¥«á¡A¶ê½L¹q·¥Âà°Ê®É¡A¹F¨ì·¥¤pªº±ÛÂà»~®t¡A´£°ª¦w¸Ë®Ä²v»Pºë«×¡C
- °ª±ÛÂàºë«×¤§¶ê½L¹q·¥¡A¥i©ó¥[¤u·L²Ó¹q·¥®É´£¤É¦¨§Îºë«×»P®Ä²v¡C 4.¥»±M§Q¸Ë¸m¥i©ñ¸m©ó²{¦³¤§°Ó·~¤Æ©ñ¹q¥[¤u¾÷¡A§¹¦¨·L²Ó¹q·¥¤§»s§@¡C
|
|
|
±M§Q¤¶²Ð--½¦¦Xªo½c¤Î¨ä»s³y¤èªk |
| ±M§QÃÒ¸¹
|
I234528 |
| µo ©ú ¤H |
«¸§ÓµØ¡BÁ§^Ùy¡B¤ý«T³Ç¡B¹ù^«Û¡B³¯«T¨} |
| ºK¡@¡@n |
¤@ºØ½¦¦Xªo½c¤Î¨ä»s³y¤èªk¡Aº¥ý¦¨§Î¥X¤@¤W¡B¤U½cÅ鳿¤¸¡A¨Ã§Q¥Î½¦¦X¤â¬q±N¸Ó¤W¡B¤U½cÅ鳿¤¸©¼¦¹¹ï±µ¡A¦Ó¤W½cÅ鳿¤¸¤§¤@¤W½cÅé»P¤@³s±µºÞ¡A¥H¤Î¸Ó¤W½cÅé»P¤@ªo¬¦©T©w®y¶¡¥ç¥i±Ä¨ú½¦¦X¤è¦¡¶i¦æ±µ¦X¡A³Ì«á°e¤J¥[¼öÄl¤¤¶i¦æ©T¤Æ¡C¥»µo©ú¥H½¦¦X§Þ³N¨ú¥N¶Ç²Î¾Z±µ¤â¬q¶i¦æªo½c¥[¤u§@·~¡A¤£¦ý¥i´î¤Ö¤u¦w¨Æ¬Gªºµo¥Í¾÷²v¡A§JªA²§§÷¾ZµÛ¤§§xÃø©Ê¡A§ó¯à°÷¨Ïªo½c¤§²£»s§ó¬°³æ¯Â¤Æ¡A«o¤´¤£¼vÅT²£«~«~½èªºÃ©w©Ê¡C
|
| ¹Ï¥Ü»¡©ú |


|
| ¥Ó½Ð±M§Q½d³ò |
- ¤@ºØ½¦¦Xªo½c,¥]§t©¼¦¹¬Û¦V¤§¤@¤W¡B¤U½cÅ鳿¤¸,¤Î¤@³s±µºÞ,¸Ó¤W½cÅ鳿¤¸¨ã¦³¤@¤W½cÅé,¤Î¤@§Î¦¨©ó¸Ó¤W½cÅé¤W¤§¶iªo¤f,¸Ó¤U½cÅ鳿¤¸¨ã¦³¤@»P¸Ó¤W½cÅé¹ï±µ¤§¤U½cÅé,¸Ó¤W¡B¤U½cÅé¦@¦P¬É©w¥X¤@³s³q¶iªo¤f¤§ÀxªoªÅ¶¡,¸Ó³s±µºÞ¥i±Nªo²G¸g¸Ó¶iªo¤f©¹ÀxªoªÅ¶¡¤¤¤Þ¾É;¨ä¯S¼x¦b©ó:
¸Ó¤W½cÅéªuµÛ¶iªo¤f©P½t¦V¥~¬ð¦ù§Î¦¨¤@»rÅS©ó¥~¬Éªº¥~¥Y½t,¸Ó¤W½cÅ鳿¤¸¤§¥~¥Y½t¬O»P¸Ó³s±µºÞ®M±µ¦Ó½¦¦X©T©w¡C
- ¨Ì¾Ú¥Ó½Ð±M§Q½d³ò²Ä1¶µ©Òz¤§½¦¦Xªo½c,¨ä¤¤,·í³s±µºÞ»P¥~¥Y½t®M±µ©T©w,¸Ó³s±µºÞ©ó¾Fªñ¸Ó¥~¥Y½t³B§Î¦¨¤@®|¦V¬ð¦ù¤§Àô°é¡C
- ¨Ì¾Ú¥Ó½Ð±M§Q½d³ò²Ä1¶µ©Òz¤§½¦¦Xªo½c,¨ä¤¤,¸Ó¥~¥Y½t¤§¤@¥~©P±»P¤W½cÅé¶¡±µ¦X³B§e©·ª¬¡C
- ¨Ì¾Ú¥Ó½Ð±M§Q½d³ò²Ä1¶µ©Òz¤§½¦¦Xªo½c,§ó¥]§t¤@¸É„F¤ù,·í¸Ó³s±µºÞ»P¥~¥Y½t¬Û½¦¦X®É,¸Ó¸É„F¤ù¬O®M³]©ó¸Ó¥~¥Y½t¤Î¤W½cÅ餧¥æ±µ³B¡C
- ¨Ì¾Ú¥Ó½Ð±M§Q½d³ò²Ä4¶µ©Òz¤§½¦¦Xªo½c,¨ä¤¤,¸Ó¸É„F¤ù¥]¬A¤@Àô¶¸Ó¥~¥Y½t¤§¥DÅ鳡,¤Î¤@¦Û¸Ó¥DÅ鳡¥~©P½tºò¶K©ó¸Ó¤W½cÅ驵¦ù¤§©T©w³¡¡C
- ¨Ì¾Ú¥Ó½Ð±M§Q½d³ò²Ä1¶µ©Òz¤§½¦¦Xªo½c,¨ä¤¤,¸Ó¥~¥Y½t¬O¥H¤@¤º©P±»P¸Ó³s±µºÞ½¦¦X¡C
- ¨Ì¾Ú¥Ó½Ð±M§Q½d³ò²Ä1¶µ©Òz¤§½¦¦Xªo½c,¨ä¤¤,¸Ó¥~¥Y½t¬O¥H¤@¥~©P±»P¸Ó³s±µºÞ½¦¦X¡C
- ¤@ºØ½¦¦Xªo½c,¥]§t©¼¦¹¬Û¦V¤§¤@¤W¡B¤U½cÅ鳿¤¸,¸Ó¤W½cÅ鳿¤¸¨ã¦³¤@¤W½cÅé,»P¤@§Î¦¨©ó¸Ó¤W½cÅé¤W¤§¶iªo¤f,¸Ó¤U½cÅ鳿¤¸¨ã¦³¤@»P¸Ó¤W½cÅé¹ï±µ¤§¤U½cÅé,¸Ó¤W¡B¤U½cÅé¦@¦P¬É©w¤@ÀxªoªÅ¶¡;¨ä¯S¼x¦b©ó:
¸Ó¤W½cÅ骺¥~©P«Y¬°ª½¥ß³¡»P¥±³¡©Ò§Î¦¨,¸Ó¤U½cÅé©ó¨ä³»ºÝ§Î¦¨±µ¦X±»P©Ó±µ±,¨Ã©ó¸Ó¤W½cÅ餧ª½¥ß³¡»P¤U½cÅ餧±µ¦X±¶¡,¥H¤Î¸Ó¤W½cÅ餧¥±³¡»P¤U½cÅ餧©Ó±µ±¶¡,¥H½¦¦X¾¯½¦¦X©T©w¡C
- ¨Ì¾Ú¥Ó½Ð±M§Q½d³ò²Ä8¶µ©Òz¤§½¦¦Xªo½c,¸Ó¤W½cÅ餧¶iªo¤f§ó¥]§t¤@¤Þ¾Éªo²G¶i¤J¸ÓÀxªoªÅ¶¡¤§³s±µºÞ¡C
- ¨Ì¾Ú¥Ó½Ð±M§Q½d³ò²Ä8¶µ©Òz¤§½¦¦Xªo½c,¸Ó½¦¦Xªo½c¥i¨Ñ¤@ªo¬¦³sµ²¦Ó¦Û¸ÓÀxªoªÅ¶¡¤¤¬¦¨úªo²G,¨ä¤¤,¸Ó¤W½cÅ鳿¤¸§ó¨ã¦³¨Ñ¸Óªo¬¦³]¸m¤§¤@ªo¬¦©T©w®y¡C
- ¤@ºØ½¦¦Xªo½c,¥i¨Ñ¤@ªo¬¦³sµ²¦Ó¬¦¨úªo²G,¸Ó½¦¦Xªo½c¥]§t©¼¦¹¹ï±µ¤§¤@¤W¡B¤U½cÅ鳿¤¸,¸Ó¤W½cÅ鳿¤¸¨ã¦³¤@¤W½cÅé¤Î¤@¨Ñ¸Óªo¬¦³]¸m¤§ªo¬¦©T©w®y,¸Ó¤W¡B¤U½cÅé¦@¦P¬É©w¤@ÀxªoªÅ¶¡;¨ä¯S¼x¦b©ó:
¸Ó¤W½cÅé¥]¬A¤@§e¶¥±èª¬¤§¦w¸Ë±,¸Ó¦w¸Ë±¬É©w¥X¤@³s³q¸ÓÀxªoªÅ¶¡¤§¦w¸Ë¤f,¸Óªo¬¦©T©w®y¬O»P¸Ó¤W½cÅ鳿¤¸¤§¦w¸Ë±¬Û¤¬½¦¦X©T©w¡C
- ¤@ºØ½¦¦Xªo½c¤§»s³y¤èªk,¨Ì§Ç¥]§t:
³Æ®Æ¨BÆJ,¿ï¨ú§÷®Æ¦¨§Î¥X¤@¤W¡B¤U½cÅ鳿¤¸,¸Ó¤W¡B¤U½cÅ鳿¤¸¤À§O¨ã¦³¤@¤W¡B¤U½cÅé,¨ä¤¤¸Ó¤W½cÅ骺¥~©P«Y¬°ª½¥ß³¡»P¥±³¡©Ò§Î¦¨,¸Ó¤U½cÅé©ó¨ä³»ºÝ§Î¦¨¤@±µ¦X±»P¤@©Ó±µ±;
¶î§G¨BÆJ,¥O¸Ó¤W½cÅ餧ª½¥ß³¡»P¤U½cÅ餧±µ¦X±¶¡,¥H¤Î¸Ó¤W½cÅ餧¥±³¡»P¤U½cÅ餧©Ó±µ±¶¡¶î§G½¦¦X¾¯,¸Ó¤W¡B¤U½cÅé¹ï±µ¦¨¬°¤@ªo½c¥b¦¨«~;
©T¤Æ¨BÆJ,±N¸Óªo½c¥b¦¨«~°e¤J¥[¼öÄl¤¤¶i¦æ¥[¼ö©T¤Æ,©T¤Æ·Å«×¬°150~190¢J¡C
- ¤@ºØ½¦¦Xªo½c¤§»s³y¤èªk,¥i¨Ñ¤@ªo¬¦³sµ²¦Ó¬¦¨úªo²G,¨Ã¨Ì§Ç¥]§t:
³Æ®Æ¨BÆJ,¿ï¨ú§÷®Æ¦¨§Î¥X¤@¤W¡B¤U½cÅ鳿¤¸,¸Ó¤W½cÅ鳿¤¸¨ã¦³¤@¤W½cÅé¤Î¤@¨Ñ¸Óªo¬¦³]¸mªºªo¬¦©T©w®y,¸Ó¤W½cÅé¥]¬A¤@§e¶¥±èª¬ªº¦w¸Ë±;
¶î§G¨BÆJ,±N¸Ó¤W½cÅ餧¦w¸Ë±»Pªo¬¦©T©w®y¶¡¶î§G¤@½¦¦X¾¯«á±µ¦X,¦P®É¹ï±µ¤W¡B¤U½cÅ鳿¤¸²Õ¦¨¤@ªo½c¥b¦¨«~;
©T¤Æ¨BÆJ,±N¸Óªo½c¥b¦¨«~°e¤J¥[¼öÄl¤¤¶i¦æ¥[¼ö©T¤Æ,©T¤Æ·Å«×¬°150~190¢J¡C
- ¤@ºØ½¦¦Xªo½c¤§»s³y¤èªk,¨Ì§Ç¥]§t:
³Æ®Æ¨BÆJ,¿ï¨ú§÷®Æ¦¨§Î¥X¤@¤W½cÅ鳿¤¸¡B¤@¤U½cÅ鳿¤¸,¥H¤Î¤@³s±µºÞ,¸Ó¤W½cÅ鳿¤¸¨ã¦³¤@¤W½cÅé¡B¤@§Î¦¨©ó¤W½cÅ餧¶iªo¤f,¤Î¤@¦Û¸Ó¤W½cÅéªuµÛ¶iªo¤f©P½t©¹¥~©µ¦ù¤§¥~¥Y½t,¸Ó¥~¥Y½t¬O»rÅS©ó¥~¬ÉÀô¹Ò;
¶î§G¨BÆJ,¥O¥~¥Y½t»P³s±µºÞ®M±µ,¦b¸Ó¥~¥Y½t¤Î³s±µºÞ¶¡¶î¸Ë¦³¤@½¦¦X¾¯,¥t±N¤W¡B¤U½cÅ鳿¤¸¹ï±µ¦¨¤@ªo½c¥b¦¨«~;
©T¤Æ¨BÆJ,±N¸Óªo½c¥b¦¨«~°e¤J¥[¼öÄl¤¤¶i¦æ¥[¼ö©T¤Æ,©T¤Æ·Å«×¬°150~190¢J¡C
- ¨Ì¾Ú¥Ó½Ð±M§Q½d³ò²Ä12¡B13©Î14¶µ©Òz½¦¦Xªo½c¤§»s³y¤èªk,¨ä¤¤¸Ó½¦¦X¾¯¬°µ²ºc¥Î½¦¦X¾¯¡C
- ¨Ì¾Ú¥Ó½Ð±M§Q½d³ò²Ä14¶µ©Òz½¦¦Xªo½c¤§»s³y¤èªk,¨ä¤¤,¸Ó¥~¥Y½t¬O¥H¤@¤º©P±»P¸Ó³s±µºÞ½¦¦X¡C
- ¨Ì¾Ú¥Ó½Ð±M§Q½d³ò²Ä14¶µ©Òz½¦¦Xªo½c¤§»s³y¤èªk,¨ä¤¤,¸Ó¥~¥Y½t¬O¥H¤@¥~©P±»P¸Ó³s±µºÞ½¦¦X¡C
|
| ¯S¡@¡@¦â |
- ½¦¦X»sµ{À³¥Î©ó¾÷¨®ªo½c¤§²£»s³æ¯Â¤Æ
- ´î¤Ö»sµ{¹Lµ{¹ï¤HÅ餧¶Ë®`©Î¤ÞP¤u¦w¤§°ÝÃD
- »sµ{¦¨¥»¸û§C¡A¥i¦Û°Ê¤Æ¤Î¥i´î¤Ö¤u¤H¤§¨Ì¿à«×
- ³]³Æ§ë¸ê¦¨¥»¤Îºûצ¨¥»¸û§C
- °t¦X¨}¦n¤§½¦¦X»sµ{¤Î±µÀY³]p¡A¨ä«~½è»P¶Ç²Î²k±µ¬Û·í©ÎÀu©ó¶Ç²Î²k±µ¡A³¡¤À³]p±j«×¬Æ¦ÜÀu©ó¾÷¨®ªo½c¿ûªO
- ¸g¹êÅé½ÄÀ»¹êÅç¡AÃÒ¹ê¥i¦æ
|
|
|