首頁
2011年8月15日
第 114期
     
專利介紹--用於表面清洗之噴嘴模組達
專利證號
I342237
發 明 人

楊勝仲、陳進和

摘  要

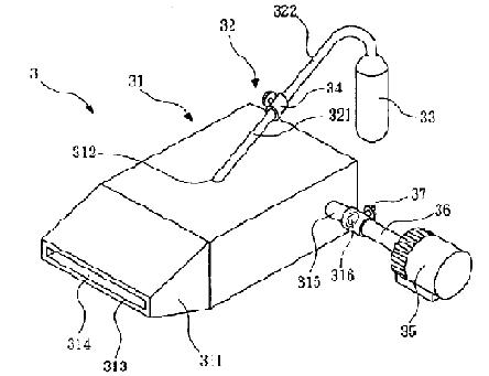
  本發明係關於一種用於表面清洗之噴嘴模組,其包括:一殼體及一氣體供應裝置。該殼體具有一漸縮部及至少一開孔,該漸縮部最狹窄處具有一狹長開口。該氣體供應裝置穿設於該開孔中,該氣體供應裝置連接至一液態二氧化碳供應源,用以將該液態二氧化碳轉換為固態及氣態之二氧化碳,經轉換為固態及氣態之二氧化碳朝該狹長開口方向噴射至該漸縮部內之一表面,並由該狹長開口噴射出形成一狹長噴流。藉由本發明之噴嘴模組可產生寬度較大之噴流,故於清洗較大面積之表面時,可縮短作業時間,且大幅減少二氧化碳之使用量,以降低操作成本。再者,該噴嘴模組結構及組成元件簡單,故生產成本較低。

圖示說明

申請專利範圍

  一種用於表面清洗之噴嘴模組,包括:一殼體,具有一漸縮部及至少一開孔,該漸縮部最狹窄處具有一狹長開口;及一氣體供應裝置,穿設於該開孔中,該氣體供應裝置連接至一液態二氧化碳供應源,用以將該液態二氧化碳轉換為固態及氣態之二氧化碳,經轉換為固態及氣態之二氧化碳朝該狹長開口方向噴射至該漸縮部內之一表面,並由該狹長開口噴射出形成一狹長噴流。

特  色

  本專利係利用二氧化碳雪花噴灑與風刀結合,產生線型分佈噴流,達到以同樣的消耗量可以擴大噴洗範圍之目的;同時大幅降低清洗過程中所排放的二氧化碳,使其更符合"綠色製程"的本質。具有以下優點:

   1.適合各種尺寸之基板清洗。
   2.可視基板大小,並聯組裝噴嘴模組。
   3.設備簡單、容易操作及維護。
   4.噴嘴速度可獨立調整。
   5.乾冰顆粒濃度可獨立調整。
   6.二氧化碳消耗量更少。


專利介紹--薄膜塗佈方法、薄膜塗佈裝置與彩色化基板的製造方法
專利證號
I341547
發 明 人

莊道良、黃建龍、朱繼文

摘  要

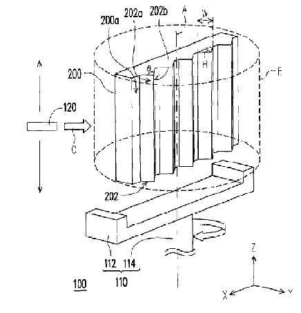
  一種薄膜塗佈方法,其包括下列步驟。首先,提供一基板,此基板具有一正面以及多個位於正面上之微突起,其中每一微突起具有一第一側表面以及一第二側表面,且第一側表面與第二側表面不平行。接著,令基板以一軸心為軸自旋於一圓柱狀空間內,並於圓柱狀空間內提供一霧狀塗料,以使霧狀塗料因基板的自旋而僅塗佈於第一側表面上。上述之薄膜塗佈方法不須使用到任何微影製程即可使薄膜選擇性地披覆堆積在特定位置上,且本發明可大幅降低製造成本。

圖示說明

 

申請專利範圍

  一種薄膜塗佈方法,包括:提供一基板,該基板具有一正面以及多個位於該正面上之微突起,其中每一微突起具有一第一側表面以及一第二側表面,且該第一側表面與該第二側表面不平行;令該基板以一軸心為軸自旋於一圓柱狀空間內;以及於該圓柱狀空間內提供一霧狀塗料,以使該霧狀塗料因該基板的自旋而僅塗佈於該些第一側表面上。

特  色

  本發明是有關於一種薄膜塗佈方法,且特別是有關於一種彩色化基板的製造方法。

  一般而言,彩色化基板大多被應用於商品標示(mark)上,用以顯示出特定的文字、圖案與色澤。為了讓彩色化基板上的文字與圖案更具變化性,許多製造者會先於彩色化基板上製作一些微突起(micro-protrusion),而這些微突起具有兩個彼此夾一特定角度之側表面,之後再於上述兩種側表面上分別鍍上不同顏色與厚度的披覆層,以使得使用者在不同視角觀看彩色化基板時,能夠看到不同顏色的文字或圖案。為了使不同顏色與厚度的披覆層能夠精準地鍍在特定的位置上,通常需採用半導體技術中常用的微影製程。

 
 

版權所有  財團法人金屬工業研究發展中心
電話:07-3513121 傳真:07-3521528
發行人:黃啟川編輯委員:王福山林烈全•黃建龍張萬權莊允中•李月修李肇升