|
| |
|
|
專利介紹--一種應用於閥具的推塊結構 |
|
| 專利證號
|
ZL200520130468.9(中華人民共和國) |
| 發 明 人 |
林庭凱、江文欽、王慈君 |
| 摘 要 |
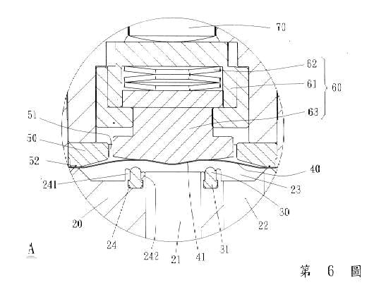
一種應用於閥具之推塊結構,該閥本體內之防洩座墊上方設有金屬膜片及壓塊,並於金屬膜片上設有一頂壓之推塊,該推塊係由中軸控制作動,其中,該推塊之推塊座內置入一彈性元件,而彈性元件之下方則設有一凸伸出推塊座,並可上下位移並壓縮彈性元件之作動件;藉此,當推塊過當頂壓金屬膜片貼置於防洩座墊時,該推塊之作動件即受防洩座墊之反作用力頂推,而向上壓縮彈性元件,以形成一緩衝作用,可避免金屬膜片及防洩座墊彈性疲乏,並於其外力解除後,可確保回復預設高度,達到延長使用壽命及確保防洩之使用效益。 |
| 圖示說明 |


|
| 申請專利範圍 |
1.一種應用於閥具之推塊結構,該閥本體內設有防洩座墊,並於防洩座墊之上方設有膜片及壓抵膜片外周緣之壓塊,該膜片之上方則設有一可推移之推塊,其主要特徵係在於:該推塊內係置入彈性元件,而彈性元件之下方則設有一作動件,作動件一端並凸伸壓抵膜片;藉此,利用彈性元件的緩衝壓縮,即可避免膜片過當頂壓而彈性疲乏。
|
| 特 色 |
本創作係提供一種緩衝作用,可避免金屬膜片及防洩座墊受過當頂壓而塑性變形,並確保其可回復預設高度,以增加使用壽命及確保防洩之應用於閥具之推塊結構。 |
|
| |
|
|
| |
專利介紹--連續模中沖壓件外形全周無屑刮光之製造方法及其模具結構 |
|
| |
| 專利證號
|
I271230 |
| 發 明 人 |
林志浩、蔡盛祺 |
| 摘 要 |
發明係一種連續模中沖壓件外型全周無屑刮光之製造方法及其模具結構,其包括第一工程道次中,藉沖壓模壓迫料帶上特定形狀及面積,令其產生塑性變形,進而部份脫離料帶平面形成沖壓件,並令該沖壓件的邊緣預留有部份厚度與料帶相連接,且該沖壓件外緣於料帶上相對下模面凹入形成呈階級狀可承接廢屑的凹槽;及第二工程道次中,藉刮光模反向壓迫前述料帶上的沖壓件,令其周緣完全斷裂脫離料帶,且其周緣全周刮削形成光製面。 |
|
圖示說明 |
 |
| 申請專利範圍 |
1.一種連續模中沖壓件外型全周無屑刮光之製造方法,其包括有第一及二工程道次,其中:第一工程道次係將一料帶藉由壓迫,使其表面產生塑性變形令部份表面脫離料帶形成沖壓件,其中該沖壓件的邊緣預留有部份厚度與料帶相連接,且該料帶上於沖壓件外緣凹入形成呈階級狀且具特定深度的凹槽;
第二工程道次係將前述料帶上的沖壓件反向壓迫,令其周緣完全斷裂脫離料帶,再令其周緣通過一與其外廓相符之刮光刃口形成光製面。
|
| 特 色 |
1、本刮光模具結構在連續中兩工程道次沖壓之製程,適合任何全周刮光的沖壓件。
2、由於可以在連續模中實施外形全周100%光製面,免除後續研磨加工缺點,增加沖壓產品競爭力。
3、不同之沖壓件外形,僅須改變料帶上之承接廢屑凹槽尺寸及形狀設計。
4、由於刮除之沖壓件廢屑留在料帶上之無屑製程,有效提升刮光模具使壽命用。
|
|
|
版權所有
財團法人金屬工業研究發展中心
電話:07-3513121 傳真:07-3521528
編輯委員:王福山•伏和中•李肇升•林烈全•莊允中•張萬權•路全勝
|