首頁
2007年2月7日
第 10 期
     
專利介紹--應用在主動式3D量測系統之彈性化校正方法
專利證號
I249019
發 明 人
郭士綱、洪全成、林長慶、葉光明、呂英誠
摘  要

本發明係關於一種應用在主動式3D量測系統之彈性化校正方法,包括:

(a)提供一校正平板,其具有複數個圓孔;
(b)將該校正平板置於該平台上;
(c)利用一影像擷取裝置擷取該等圓孔之影像;
(d)求出各該圓孔之圓心座標,並以最小平方法求得該影像擷取裝置與該平台之座標轉換關係以及該影像擷取裝置之有效焦距、失真率及光學中心座標;
(e)移開該校正平板;
(f)利用一投射裝置投射一光學圖案至該平台,其中該光學圖案包括複數個圓點,該等圓點之圓心距與該等圓孔之圓心距相同;
(g)利用該影像擷取裝置擷取該等圓點之影像;及(h)於垂直方向移動該平台,以取得更多之校正點,再以最小平方法求得該投射裝置、該影像擷取裝置與該平台之座標轉換關係。藉此,在應用時具有較大之彈性,可縮短系統架設時間,同時因與實際物理架構吻合,且不需移動任何機構,因此具有較高之量測精度。

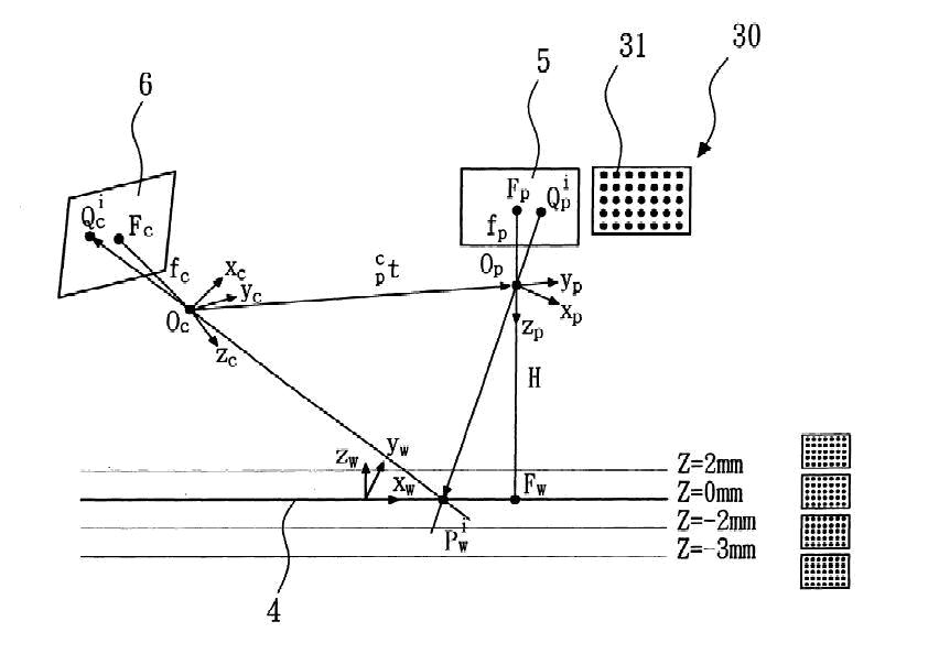
圖示說明


顯示本發明中投射裝置之參數校正示意圖

4-參考平面
5-投射平面
6-影像平面

30-光學圖案
31-圓點
申請專利範圍

1.一種應用在一主動式3D量測系統之彈性化校正方法,該主動式3D量測系統包括一平台、一投射裝置及一影像擷取裝置,該校正方法包括:

(a)提供一校正平板,其具有複數個圓孔,該等圓孔之孔徑及孔位距離係為已知;
(b)將該校正平板置於該平台上;
(c)利用該影像擷取裝置擷取該等圓孔之影像;
及(d)利用影像處理技術求出各該圓孔之圓心座標,並以最小平方法求得該影像擷取裝置與該平台之座標轉換關係以及該影像擷取裝置之有效焦距、失真率及光學中心座標。

特  色
以主動式3D量測模式為基礎的系統校正方法可適用於實際三維量測系統模型,解決傳統以二維模式簡化三維模型在精度不足及系統架設不易問題。
     

版權所有  財團法人金屬工業研究發展中心
電話:07-3513121 傳真:07-3521528
編輯委員:王福山•和中•李肇升•林烈全莊允中•張萬權路全勝